SD8318

Operating Voltage

2.4~3.6V

2.4~3.6V

Operating Current

1.5mA

1.5mA

ADC ENOB

18.7bits@8sps
Gain = 128

18.7bits@8sps
Gain = 128

Peripherals

DAC、RTC、UART、PWM

DAC、RTC、UART、PWM

Package

LQFP48

LQFP48
IC Introduction

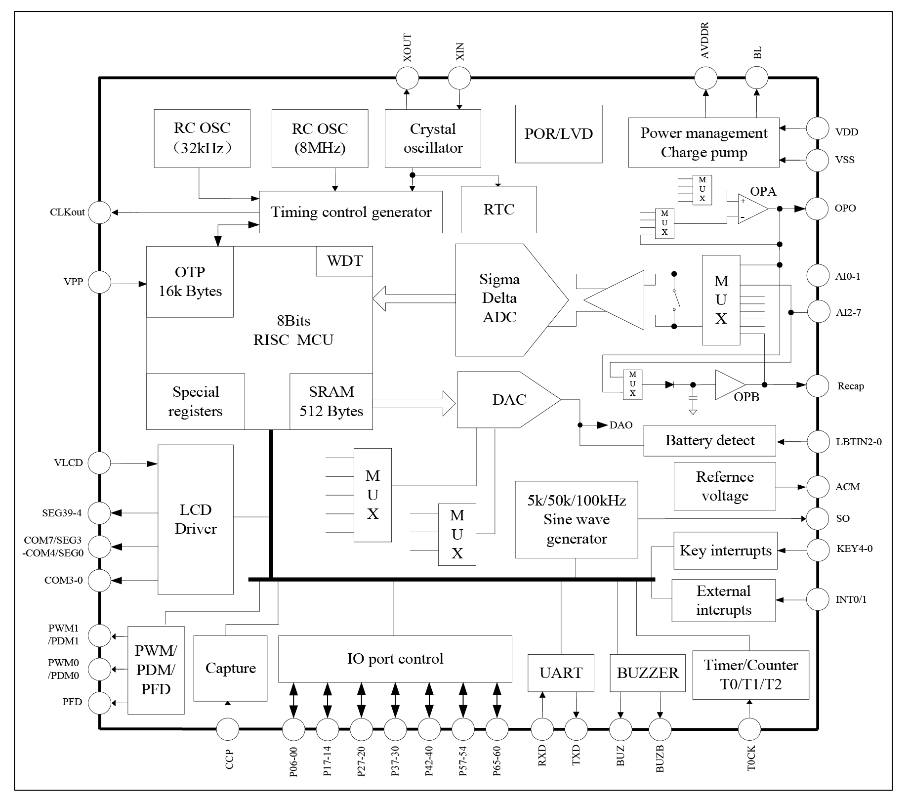
        The SD8318 is a CMOS SoC with built-in 24 bit ADC and 16k Bytes OTP memory. 

        The IC was designed with ultra-low power technology. Operating at 3V supply and 2MHz clock rate that originates from 4MHz internal RC oscillator, the total typical operating current is 1.5mA.
        It has very rich peripheral resources: RTC, UART, selectable regulated voltage source, flexible PGIA setup, voltage booster, TIMER with CAPTURE capability, PWM, PFD, and LCD driver.
        The OTP can be programmed in situ and the 2.4~3.6V programming voltage is generated internally. The OTP can be used in place of external EEPROM.
        Three working modes are provided so users can select the optimum choice between speed and power. They are normal mode, standby mode, and sleep mode.

IC Features
  • High precision ADC, ENOB=18.7bits@8sps, 4 differential or 8 single-ended inputs

  • Low noise, high input impedance preamplifier with selectable gain: 1, 4, 8, 16, 32, 64, 128, or 256

  • 8 bits RISC ultra-low power MCU, 49 instructions and 6 stack levels. The MCU current consumption is 400μA typically at 3V and 2MHz operating clock rate. Standby current is 1.5μA at 32kHz clock, and less than 1μA at sleep

  • 16K Bytes OTP, 512 Bytes SRAM

  • Low OTP programming voltage, can replace external EEPROM

  • Flexible battery voltage detection range 2.0~3.3V

  • RTC module provides calendar/time information, automatic leap year calculation

  • Abundant peripheral resources: UART, PWM, PDM, PFD, CAPTURE, TIMER, infrared carrier generator, sine wave generator

  • 27SEG X 4COM, 26SEG X 5COM, 25SEG X 6COM, 24SEG X 8COM LCD drive, ultra-low power consumption and high driving capability, programmable boost module to maintain luminance at low supply voltage

  • 8bits DAC

  • Schmitt trigger input, pull up resistor selectable

  • Low voltage detection and power on reset circuit

  • Operating voltage range: 2.4~3.6V

  • Operating temperature range: -40 ~85 ˚C

  • Built-in 8MHz and 32kHz RC oscillators

IC Block Diagram
Application area

Cash Register Scale

Four Electrodes AC Health Scale

Related Products Recommendation

Product Series

Sample Requests
and Purchase

Product
Directory

Please fill in a real and valid email address!